節流閥的主要作用是調節流量和壓力。節流閥壓差一定時,開口大小影響著流量的變化。節流閥就跟水龍頭差不多一個道理。你開大量 流出來的水就多。你關小了流出來的水就少。
1)、節流降壓。當常溫高壓的制冷劑飽和液體流過節流閥,變成低溫低壓的制冷劑液體并產生少許閃發氣體。進而實現向外界吸熱的目的。
2)、調節流量:節流閥通過感溫包感受蒸發器出口處制冷劑過熱度的變化來控制閥的開度,調節進入蒸發器的制冷劑流量,使其流量與蒸發器的熱負荷相匹配。當蒸發器熱負荷增加時閥開度也增大,制冷劑流量隨之增加,反之,制冷劑流量減少。
3)、控制過熱度:節流機構具有控制蒸發器出口制冷劑過熱度的功能,既保持蒸發器傳熱面積的充分利用,又防止吸氣帶液損壞壓縮機的事故發生。
4)、控制蒸發液位:帶液位控制的節流機構具有控制蒸發器液位的功能,既保持蒸發器傳熱面積的充分利用,又防止吸氣帶液降低吸氣過熱度。
工作原理
節流的工作原理是制冷工質流過閥門時流動截面突然收縮,流體流速加快,壓力下降,壓力下降的大小取決于流動截面收縮的比例。
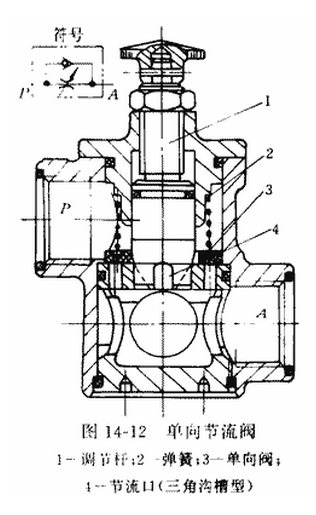
節流閥是通過改變節流截面或節流長度以控制流體流量的閥門。將節流閥和單向閥并聯則可組合成單向節流閥。節流閥和單向節流閥是簡易的流量控制閥,在定量泵液壓系統中,節流閥和溢流閥配合,可組成三種節流調速系統,即進油路節流調速系統、回油路節流調速系統和旁路節流調速系統。節流閥沒有流量負反饋功能,不能補償由負載變化所造成的速度不穩定,一般僅用于負載變化不大或對速度穩定性要求不高的場合。
節流閥結構原理圖
圖14—11所示為節流閥結構圖。氣流徑P口輸入,通過節流口的節流作用后經A口輸出。節流口的流通面積與閥芯位移量之間有一定的函數關系,這個函數關系與閥芯節流部分的形狀有關。常用的有針閥型、三角溝梢型和圓柱斜切型等,與液壓節流閥閥芯節流部分的形狀基本相同,這里不再重復。圖示即是圓柱斜切閥芯的節流閥。

圖14—12所示為單向節流閥結構圖,它是單向閥和節流閥并聯而成的組合控制閥。當氣流由P口向A口流動時。經過節流閥節流;反方向流動,即由A向P流動時,單向閥打開,不節流。
