減速機運行一段時間后,由于各部件間相互的磨損,會導致軸承間隙的增大,為保證減速能持續穩定的工作,要在減速機運行一定的時間后,對減速機的各軸軸承間隙進行調整。
在減速機軸系固定方式一般采用軸系兩端固定和軸系一端固定,一端游動兩種方式。而兩端固定方式一般又采用軸承端蓋外裝式及軸承端蓋嵌入式兩種。
以下是對采用幾種固定方式的減速機在調整軸承間隙的方法總結。
1、軸系兩端固定方式
這種結構常采用端蓋固定軸承外圈,結構簡單,使用方便。在一般的齒輪減速機及軸承支承點跨距<300㎜的蝸桿減速機中較為常見。
1)外裝式端蓋的減速機軸承間隙調整
此種方式結構簡單,使用方便,在減速機中被廣泛采用。

圖1是外裝式端蓋固定的齒輪軸系結構。出廠時大多會在兩端留有適量的軸向間隙,以保證軸承的靈活運轉及軸系零件的熱伸長。此間隙一般在0.25㎜~0.4㎜范圍內,否則會使滾動體受載不均勻并引起較為嚴重的軸向竄動。因而要靠調整軸承間隙來保證一定的軸向間隙。在調整此種固定方式的軸系時,首先打開減速機的觀察孔,看準齒輪的嚙合情況后,再確定軸系是從哪個方向移動間隙。
如圖1所示,如果確定高速軸向輸入側調整間隙,就要把高速軸的悶蓋拆下,用深度游標卡尺測出軸承距端蓋平面的深度記下;然后用撬杠類工具把軸系向輸入側移動,再測出悶蓋端軸承距端蓋平面的深度,兩個深度尺寸的差值就是軸承移動的量。把軸系移動好后,就在軸承孔上加上與移動量相等的墊片,最后裝上悶蓋。
待所有部件裝配完后,輕輕盤動減速機,檢查各軸轉動是否靈活。若仍有卡阻,則可對加的墊片厚度適量減薄。直到把減速機各軸的轉動調整到靈活。根據實際情況,還可以把安裝于箱體上的軸承端蓋進行切削加工,切削深度為軸承移動量或略大于移動量的0.20㎜。如切削深度大于端蓋平面厚度的1/3,則由于端蓋太薄,強度減弱,需要重新加工端蓋。
對可調整間隙的向心推力軸承,可通過調整軸承由外圈的相對位置得到需要的軸承游隙。這種游隙一般比較小,以保證軸承剛性和減少噪聲、振動。對不可調間隙的軸承(如向心球軸承),可在裝配時通過調整,使固定端蓋與軸承外圈端面間留有適量的間隙,以容許軸系的熱伸長。
在圓錐齒輪減速機中,對于懸臂的小錐齒輪的軸系,要求具有良好的剛性,并且能調整軸系的軸向位置,以達到兩齒輪錐頂重合。因此常將整個軸系裝于套環內而形成一個獨立組件。套杯的肩起固定軸承的作用,凸肩不可過高,以利于軸承的拆卸套杯凸緣及軸承端蓋處都有墊片用來調整軸承間隙及調節軸系的軸向位置。
圓錐齒輪軸系采用向心推力軸承時,軸承有正安裝和反安裝兩種布置方案。正安裝的結構支點跨距較小,剛度較差,但用墊片實現調整比較方便。反安裝的結構安裝軸承不便,用圓螺母調整比較麻煩,但支點跨距較大,剛性較好。當要求兩軸承布置緊湊而有需要提高軸系的剛性時,常采用此種結構。
2)嵌入式端蓋的減速機軸承間隙調整
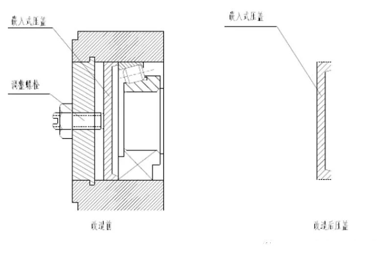
主要是通過減速機自身的調整端蓋來實現軸承間隙的調整,不用拆開減速機的零部件。某礦卷揚機采用的蝸輪蝸桿減速機蝸桿軸承間隙就是如圖2所示的調整形式。
在生產間隙時停機對減速機軸承間隙進行調整,如果能卸出輸出端的負載,調整將更為精確,利用調整端蓋上的調整螺栓進行調整,調好后,輕輕盤動減速機,檢查各軸轉動是否靈活。若仍有卡阻,則反復調整,直到把減速機各軸的轉動調整到靈活、無明顯軸向竄動為佳。

由于使用中各零件的相互作用,使得固定軸承外圈(或內圈)的擋圈和端蓋上壓軸承外圈的臺肩會產生一定量的磨損,這些不起眼的磨損,累加起來也會使軸系有很大間隙,也能導致軸系產生竄動。
值得注意的是與調整螺栓配套的嵌入壓蓋(如圖2),與軸承外圈接觸的部分,有的減速機上該壓蓋接觸面過少(如圖2改造前),經常導致磨損迅速,大大縮短了軸承間隙調整周期,解決的辦法是:增加內壓蓋與軸承外圈的接觸面積(重新制作加工,加寬內壓蓋的軸承外圈壓邊)(如圖2改造后),也能有效的延長軸承間隙的調整周期,防止軸承的損壞。
當然,內壓蓋磨損還有其它的原因,比如軸承支承孔磨損嚴重,破壞了原有的配合公差,致使軸承走外圓(外圈在摩擦力作用下隨軸承轉動)等。
2、軸系一端固定、一端游動方式
一端固定、一端游動軸系結構比較復雜,但可容許軸系有較大的熱伸長。多用于軸承支點跨距較大、溫升較高的軸系中。安排支承時,應把受徑向力較小的一端作為游動端,以減少軸向游動時的摩擦力。如果兩支點的徑向力相近,則常選軸伸端作為游動端。

圖3所示是一端固定一端游動的蝸桿軸系,固定端的支承用組合軸承構成,組合軸承的兩個圈分別用套杯凸肩和軸承端蓋雙向固定,兩內圈則用軸上零件,軸肩或圓螺母雙向固定,由于固定段軸承承受軸向力,一般不用彈性擋圈作為固定件。
用圓螺母固定軸承內圈時,其螺紋直徑要小于軸承內徑,直徑應小于墊片尺寸,墊片在溝槽中的位置應低于螺紋內徑(見圖3)。當采用圓錐滾子軸承時。為了防止螺母與軸承保持架接觸,應在螺母與軸承間加一隔套。
游動端支承可選用向心球軸承或向心滾子軸承。對于向心球軸承,內圈兩側可依靠軸肩和軸上零件固定,外圈則不固定,因而可在軸承座孔中做軸向游動,對于向心滾子軸承內外圈兩側都需要固定。軸向游動靠滾子相對于外圈的軸向位移來實現。
減速機各軸系軸承間隙的調整對穩定運行至關重要,在調整軸承間隙時應注意以下幾點。
1、必須要以齒輪嚙合為依據,需符合兩齒輪接觸斑點、齒側間隙及齒頂隙的要求,即要以減速機轉動輕快、靈活為準。
2、軸承間隙必須在可調范圍內,若軸承間隙已經處于報廢狀態時,再調整間隙就沒有實際意義。
3、加強操作人員及點檢人員的責任心,隨時檢查運行情況;加強檢修人員責任心,提高維護檢修質量,延長設備使用壽命。